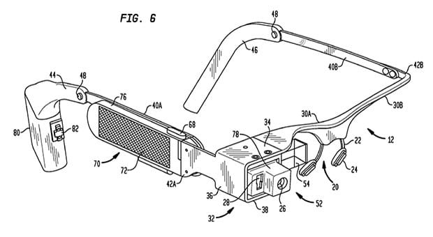
Google ha publicado las especificaciones técnicas de sus gafas inteligentes, Glass. Destaca su cámara de 5 MP con grabación de vídeo en HD y sus 16 GB de memoria interna.
En cuanto al diseño, encontramos un marco flexible que es capaz de adaptarse a cualquier cara y dos tamaños de almohadillas para la nariz.
Pantalla
Glass cuenta con una pantalla de alta resolución, equivalente a estar viendo una pantalla de 25″ a una distancia de 2,5 metros.
Procesador y memoria
Cuenta con 16 GB de memoria interna, de los cuales 12 GB podrán ser usados por el usuario.
Cámara
La cámara es de 5 MP y es capaz de grabar vídeo en HD 720p.
Otras características
La batería garantiza un día, si no hacemos un uso intensivo de la grabación de vídeo.
Se carga con un cargador micro USB, Google incluye uno y recomienda que se use ese en lugar de otros que tengamos por casa.
Es compatible con cualquier terminal con Bluetooth, aunque para usarlo se requiere de la aplicación MyGlass que se puede instalar en Android 4.0.3 o superior. Gracias a esta aplicación podrás utilizar el GPS y la mensajería.
Además también cuenta con Wi-Fi 802.11 b/g.
Para el audio hay un transductor de conducción osea, o lo que es lo mismo, se envía a través de los huesos del oído.
Precio y disponibilidad
Por ahora no hay fecha exacta de disponibilidad ni precio oficial, aunque se dijo que sería de 1.500 $.
Más info | Google


